股票配资虚拟网站
如果苹果能研发成功,未来的Apple Watch、iPhone或任何搭载屏幕的产品,都有可能配备只有在需要时才会显现的相机与闪光灯。
目前唯一阻碍Apple Watch成为许多影视作品中那种能够进行视频通话的腕上设备的因素,就是它缺乏相机。对此苹果一直在努力,如今已获得一项修订后的新专利,部分内容即描述了将相机与闪光灯嵌入显示器中的设计。
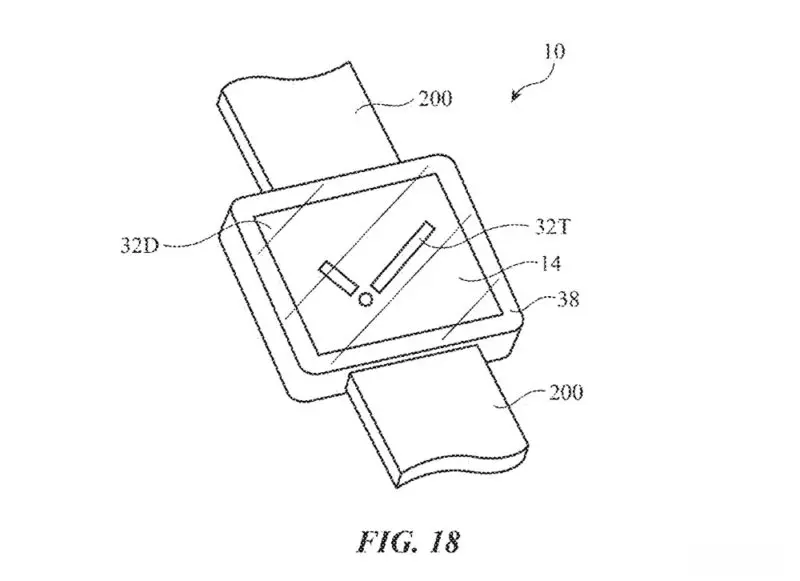
这项名为《具备双阶段显示器的电子设备》(Electronic devices with two-stage displays)的专利(编号US 20240061466),探讨如何制造一种具备不同显示技术层的屏幕。理论上可应用于任何搭载屏幕的设备,而苹果在文件中也列出了最广泛的设备类型,其中大部分内容都与Apple Watch有关。

专利开头写道“像是移动电话等电子设备有时会配备显示器与其他光学组件,如相机与闪光灯设备,要将这些光学组件集成至电子设备中可能具挑战性。”

“显示器在未使用时也可能不够美观,”专利继续说,在某些设计中,为了容纳相机与闪光灯,设备上会出现不美观的开口。
若这段描述让你联想到iPhone屏幕上的刘海,或是背后的相机模块凸起,那么这项专利或许正是为了解决这些问题。不过专利主要针对的是如何让一块小型屏幕通过多层设计实现Apple Watch上的不同功能。
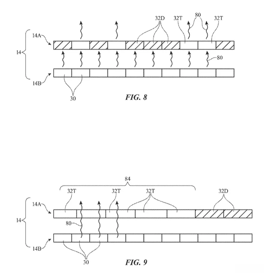
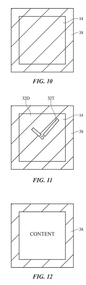
文件写道“电子设备可配备双阶段显示器,显示器可能包含一个内层,由像素数组构成以显示图像,还有一个外层,由具备多个可切换为透明或遮光模式的单元所构成的光调制器构成。”
第一层为反应快速的显示技术,能够显示视频。而在这之上,则可加上一层较适合显示变化缓慢形象(如文本)的第二层显示器。该第二层可以关闭,使用户能看到下层的视频;或是激活,来改变设备外观。在这种情况下,相机的快门“可能会呈现与电子设备外壳一致的外观”。

专利描述,当需要拍摄形象时,电子设备中的控制电路可暂时将快门切换至透明模式,让闪光灯的光线与/或相机捕捉的形象光线通过。
这项专利列有八位发明人,其中包括多产的James R. Wilson。他过去的作品包含多项与此相关的专利,例如将“Apple Glass”的相机设计为在不使用时隐藏。
早在2019年,苹果就申请了一项将相机集成进Apple Watch表带的专利。而到了2025年,则有消息指出苹果曾考虑推出一款搭载翻盖式镜头的Apple Watch,用于FaceTime通话。
苹果每年会申请数百项专利,即使其中某些已获核准,也不代表该技术最终一定会出现在实际产品中。这次也可能不例外,毕竟在2025年5月曾有报道指出,苹果已取消推出配备相机的Apple Watch的相关计划。
(图片来源:美国专利商标局)股票配资虚拟网站
启天配资提示:文章来自网络,不代表本站观点。