北京日报讯(实习记者 李婷婷)昨天股票配资虚拟网站,2025至2026赛季国际雪联单板及自由式滑雪大跳台世界杯北京站在首钢大跳台“雪飞天”正式开赛。在首日进行的....
娃哈哈集团收紧品牌授权股票配资虚拟网站,去年营收超1.2亿元的娃哈哈上海工厂面临关停境遇。 近日,据媒体报道,娃哈哈上海工厂(上海娃哈哈饮用水有限公司)推出“沪....
本站消息股票配资虚拟网站,7月25日聚丙烯主力期货(PPM)合约收盘上涨1.01%,报7221元,成交111.18亿元。 品种简介:聚丙烯(PP)期货是在期货交....
在北京时间7月31日结束的一场足球热身赛中股票配资虚拟网站,阿森纳0-1不敌热刺,遭遇季前赛首败。 第10分钟,波罗主罚角球击中立柱,里沙利松头球补射被挡。 第....
陈先生从去年开始就觉得肩膀不舒服,不时的隐隐作痛,起初他还以为是伏案工作久了得的肩周炎,自己网上买了一些痛消贴,每次一痛就贴一张,一开始还有点效果,缓解了一些不....
热点栏目 自选股 数据中心 行情中心 资金流向 模拟交易 客户端 信义能源(03868)发布公告股票配资虚拟网站,于2025年7月30日,根据截至2024年12....
《南京照相馆》:历史与情感交织的影像之旅股票配资虚拟网站 湖北日报讯(记者孙凌、喻煜、通讯员王彧沁)7月25日,电影《南京照相馆》正式在全国上映,这部影片汲取了....
证券日报网讯 7月30日晚间,顺络电子发布2025年半年度报告摘要称,公司2025年半年度实现营业收入为3,224,219股票配资虚拟网站,938.55元,同比....
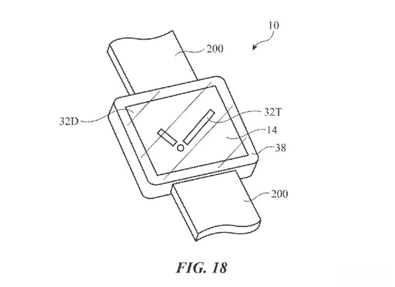
股票配资虚拟网站 如果苹果能研发成功,未来的Apple Watch、iPhone或任何搭载屏幕的产品,都有可能配备只有在需要时才会显现的相机与闪光灯。 目前唯一....
“银发浪潮”正以前所未有的速度重塑社会结构,如何将“被动养老”转化为“价值再生产”,成为世界各国共同面临的时代课题。近日,民政部等19部门联合发布《关于支持老年....
启天配资文章加载中,请稍后...
启天配资(实盘),作为您的投资伙伴,我们将与您携手共进,共同实现财富增值和梦想成真。